АБЛЯЦИОННЫЕ МАТЕРИАЛЫ (от позднелат. ablatio- отнятие, устранение), теплозащитные материалы, действие к-рых основано на абляции-сложном энергоемком процессе уноса в-ва с пов-сти твердого тела потоком горячего газа. А. м. наносят на пов-сть ракет, космич. аппаратов и камер сгорания ракетных двигателей для обеспечения температурного режима их работы при воздействии интенсивных тепловых потоков.
В общей форме абляция м. б. описана след. уравнением:


https://www.pora.ru/image/encyclopedia/7/0/3/703.jpeg

где qк-конвективный тепловой поток к пов-сти материала; qR-радиац. тепловой поток;https://www.pora.ru/image/encyclopedia/7/0/4/704.jpeg-суммарный унос массы в результате пиролиза пов-сти, выделения газообразных продуктов и стекания расплава;https://www.pora.ru/image/encyclopedia/7/0/5/705.jpeg -энтальпия плавления; GW-унос продуктов пиролиза;https://www.pora.ru/image/encyclopedia/7/0/6/706.jpeg-энтальпия физ.-хим. превращений;https://www.pora.ru/image/encyclopedia/7/0/7/707.jpeg-коэф. черноты;https://www.pora.ru/image/encyclopedia/7/0/8/708.jpeg-постоянная Стефана - Больцмана; ГW-абс. т-ра пов-сти; qвл-тепло, отводимое в результате вдува газообразных продуктов пиролиза;https://www.pora.ru/image/encyclopedia/7/0/9/709.jpeg -тепловой поток к защищаемой пов-сти.
https://www.pora.ru/image/encyclopedia/7/1/0/710.jpeg

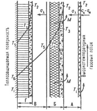
Схема тепло- и массообмена в комбинированном абляционном материале: А-уносимый слой; Б-зона абляции; В-неизменный материал; Г пример возможного достижения зоной Б теплозащищаемой стенки; qk , qRhttps://www.pora.ru/image/encyclopedia/7/1/1/711.jpeg-см. обозначения в тексте; 7-начальная т-ра; Т2-т-ра кипения; Т3-,т-ра плавления, T4-т-ра начала "коксования"; Г5-т-ра начала термич. разложения; Т6-т-ра теплозащищаемой стенки в момент времени, соответствующий указанному положению зоны Б; М-направление движения уносимой массы

Различают след. виды A.M.: разлагающиеся (политетрафторэтилен, полиэтилен и др.), сублимирующиеся (напр., графит при т-рах ок. 3800 °С, давлениях до 10 МПа и отсутствии окисляющего агента), плавящиеся (кварц, пенокера-мика и др.). Наиб. распространены армированные орг. и кремнийорг. материалы, абляция к-рых характеризуется совокупностью неск. одновременно протекающих процессов, как показано на рисунке. В начальный момент на пов-сти образуется пленка расплава и начинается нагрев нижележащих слоев, возникает зона абляции, т.е. плавления и пиролиза с образованием твердого, обычно пористого углеродного остатка. С течением времени эта зона смещается в сторону защищаемой пов-сти, толщина слоя неизменного A.M. уменьшается, а т-ра возрастает. После окончания воздействия высокотемпературного газового потока зона абляции может достигнуть защищаемой пов-сти, что допустимо лишь по истечении расчетного времени работы изделия.

A.M. могут быть твердыми (на основе термореактивных синтетич. смол и линейных полимеров) и эластичными (на основе нитрильного этилен-пропиленового, синтетич. изо-пренового каучука и др.); армирование материалов волокнистыми наполнителями существенно улучшает их абляционные св-ва (табл. 1 и 2).

Табл. 1.-АБЛЯЦИЯ ПОЛИМЕРОВ В ДОЗВУКОВОМ ГАЗОВОМ ПОТОКЕ(испытания на кислородно-ацетиленовой горелке)
https://www.pora.ru/image/encyclopedia/7/1/2/712.jpeg

Табл. 2-АБЛЯЦИЯ ФЕНОЛЬНЫХ ПЛАСТИКОВ ПРИ СОДЕРЖАНИИ НАПОЛНИТЕЛЯ ОКОЛО 60%
https://www.pora.ru/image/encyclopedia/7/1/3/713.jpeg

Эластичные A.M. используют гл. обр. для защиты камер сгорания крупногабаритных ракетных двигателей, для внеш. теплозащиты гиперзвуковых самолетов, ракет и космич. аппаратов, входящих в атмосферу Земли или др. планет. Их эластичность, характеризуемая, напр., относит. удлинением при разрыве, может составлять 200% и более. Низкую плотность A.M. (до 0,16 г/см3) обеспечивают введением пенообразователей или полых стеклянных, фенольных или др. микросфер (т. наз. синтактные А. м.).

Лит.: БичерН., РозенсвейгР.Е., "Ракетная техника. Журнал Американского ракетного общества" (рус. пер.), 1961, № 4, с. 81-90; Конструкционные свойства пластмасс, пер. с англ., М., 1967, с. 401-56; Дубинкер Ю. Б., Донской А. А., Эластомерные теплозащитные материалы. Обзор, М., 1969; ПолежаевЮ.В., ЮревичФ.Б., Тепловая зашита, М., 1976, с. 51-58; Камалов B.C., Производство космических аппаратов, М., 1982, с. 236. Ю. Б. Дубинкер, Ф. Г. Будакова.