ВЫПАРИВАНИЕ, осуществляют для концентрирования р-ров, выделения растворенного в-ва или получения чистого р-рителя. В. подвергают преим. водные р-ры нелетучих или малолетучих в-в.

В. происходит благодаря подводу теплоты извне (чаще всего используют водяной пар давлением до 1,2 МПа, к-рый наз. греющим, или первичным) и непрерывному удалению образующегося при кипении р-ра пара, наз. вторичным (при отборе на сторону наз. экстра-паром). Движущая сила В. - разность т-р греющего пара и кипящего р-ра, наз. полезнойhttps://www.pora.ru/image/encyclopedia/6/9/6/4696.jpeg . Она всегда меньше разности между т-рами первичного и вторичного паров, т.к. р-р кипит при более высокой т-ре, чем чистый р-ритель. Указанное различие в т-рахhttps://www.pora.ru/image/encyclopedia/6/9/7/4697.jpeg, наз. физ.-хим. (концентрационной, температурной) депрессией, определяется хим. природой р-ра и часто достигает больших значений, возрастая с увеличением концентрации и внеш. давления. Напр., в случае В. воды при 760 мм рт. ст. 50%-ный водный р-р NaOH кипит при 142,2°С (https://www.pora.ru/image/encyclopedia/6/9/8/4698.jpeg = 42,2°С), 75%-ный р-р NaOH-при 192°С (https://www.pora.ru/image/encyclopedia/6/9/9/4699.jpeg= = 92,0). Т-ра кипения р-ра повышается также из-за более высокого давления в р-ре, чем в паровом пространстве. Одна из главных причин повышения давления - гидростатич. давление р-ра, или т. наз. гидростатич. депрессия, к-рая в среднем составляетhttps://www.pora.ru/image/encyclopedia/7/0/0/4700.jpeg= 1 -3 °С.

Для проведения процесса применяют выпарные аппараты (В. а.), работающие под атмосферным и избыточным (до 0,6 МПа) давлением или разрежением (до 0,008 МПа). При работе под избыточным давлением повышается т-ра кипения р-ра, поэтому возможности данного способа ограничены св-вами р-ра и т-рой теплоносителя. Разрежение в В. а. создается в результате конденсации вторичного пара в спец. конденсаторах, охлаждаемых водой или исходным р-ром, и удаления неконденсирующихся газов с помощью вакуум-насоса. В. в условиях разрежения позволяет снизить т-ру кипения р-ра; применяется для концентрирования термочувствит. р-ров, напр. лизина, послеспиртовых бард гидролизных произ-в, а также высококипящих р-ров, напр. H2SO4.

В зависимости от способа нагревания концентрируемого р-ра В. а. делят на поверхностные (теплота передается от теплоносителя к р-ру через стенку) и контактные, в к-рых происходит непосредственное соприкосновение теплоносителя с р-ром.

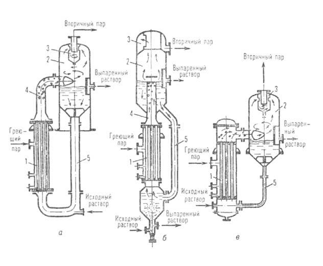
Поверхностные выпарные аппараты. наиб. распространены В. а. с трубчатыми греющими камерами. В таких аппаратах р-р находится в трубном, а греющий пар - в межтрубном пространстве. Осн. достоинства: интенсивная теплопередача, многократное использование теплоты вторичного пара, высокая степень чистоты целевого продукта, возможность создания аппаратов большой единичной мощности, легкость удаления инкрустирующих отложений с поверхности кипятильных труб. Различают В. а. с многократной циркуляцией р-ра (естественной и принудительной) и однократной - т. наз. однопроходные, или пленочные.

Движение р-ра в В.а. с естественной циркуляцией (рис. 1,а, б, в) осуществляется благодаря разности плотностей парожидкостной смеси в зоне кипения и р-ра вне ее (рис. 1,б) или вследствие увлечения жидкости всплывающими пузырьками пара (аппараты с кипением р-ра в трубах камеры). Эти аппараты применяют для маловязких (https://www.pora.ru/image/encyclopedia/7/0/1/4701.jpeg до 6-8 мПа*с) р-ров. Осн. характеристики: скорость циркуляции р-ра обычно не более 1,0-1,5 м/с,https://www.pora.ru/image/encyclopedia/7/0/2/4702.jpeg = 15-25°С, пов-сть нагрева до 630 м2, коэф. теплопередачи 1,2-1,8 кВт/(м*К), продолжительность работы между промывкой или мех. очисткой 3-4 сут. Достоинство - отсутствие расхода электроэнергии; недостаток - зависимость интенсивности В. от тепловой нагрузки, к-рая снижается при загрязнении пов-сти нагрева.

В аппаратах с вынесенной зоной кипения (рис. 1,а, б)над греющей камерой установлена дополнит. подъемная труба (труба вскипания), к-рая обеспечивает высокую скорость естественной циркуляции. Кипение происходит в трубе (поскольку труба заполнена р-ром, давление в греющих трубах выше, чем насыщенного вторичного пара при т-ре р-ра, на величину массы гидростатич. столба парожидкостной смеси). Эти аппараты предназначены для р-ров плохо растворимых в-в, к-рые при концентрировании выпадают в осадок и образуют на пов-сти нагрева значит. слой накипи (NaCl, Na2CO3, CaCO3 и др.), а также при опреснении морской воды. Для насыщ. р-ров хорошо растворимых солей, не выпадающих при концентрировании в осадок и не образующих накипи (напр., NaNO2, NaNO3, NH4NO3, КС1), применяют В. а., в кипятильных трубах к-рых р-р не только нагревается, но и кипит (рис. 1, в). Разновидность рассмотренных аппаратов - В. а. с двухходовой греющей камерой (рис. 1, г, д). Они не имеют циркуляционной трубы (ее роль выполняет часть трубного пучка камеры), менее металлоемки, занимают меньшую площадь (пов-сть нагрева до 1600 м2). Эти аппараты используют для р-ров в-в, растворимость к-рых возрастает с повышением т-ры (напр., щелока в произ-ве хлора и каустич. соды, содово-поташные р-ры в произ-ве глинозема).
https://www.pora.ru/image/encyclopedia/7/0/3/4703.jpeg
https://www.pora.ru/image/encyclopedia/7/0/4/4704.jpeg
https://www.pora.ru/image/encyclopedia/7/0/5/4705.jpeg

Рис. 1. Поверхностные выпарные аппараты: а, б, в-с естественной циркуляцией; г, д-с двухходовой греющей камерой; е-с принудительной циркуляцией; ж, з, и - пленочные; 1-греющая камера; 2-сепаратор; 3-брызгоуловитель; 4-труба вскипания; 5-циркуляционная труба; 6-ротор; 7-осевой насос.

Для повышения интенсивности движения р-ра и коэф. теплопередачи применяют В.а. с принудительной циркуляцией, создаваемой спец. осевым насосом (рис. 1, е). Такие аппараты служат для В. сравнительно вязких (https://www.pora.ru/image/encyclopedia/7/0/6/4706.jpeg до 1 Па*с) продуктов, напр. аммофосных пульп в произ-ве минеральных удобрений. Осн. характеристики: скорость циркуляции р-ра 2,0-2,5 м/с,https://www.pora.ru/image/encyclopedia/7/0/7/4707.jpeg = 7-15 °С, пов-сть нагрева до 1800 м2, коэф. теплопередачи до 3 кВт/(м2*К), продолжительность работы между промывкой или мех. очисткой до 30 сут. Важное достоинство - независимость интенсивности В. р-ра от тепловой нагрузки. Недостатки: необходимость использования насосов, затраты электроэнергии на циркуляцию р-ра.

Пленочные В.а. применяют для сильно пенящихся и термочувствительных продуктов, напр. в произ-ве дрожжей, ферментов, антибиотиков, фруктовых соков, р-римого кофе. Концентрирова-ние происходит в результате однократного движения тонкого слоя (пленки) р-ра вместе с вторичным паром вдоль труб длиной 6-8 м (пов-сть нагрева до 2200 м2). Различают: аппараты с прямоточным восходящим движением р-ра за счет силы трения на границе между жидкостью и паром, к-рый движется снизу вверх с достаточно большой скоростью (рис. 1, ж); с нисходящим движением жидкости, свободно стекающей по повети нагрева (рис. 1, з); роторные, в к-рых р-р перемещается ("размазывается") скребками ротора по пов-сти теплообмена (рис. 1, и). В роторных аппаратах концентрируют очень вязкие (https://www.pora.ru/image/encyclopedia/7/0/8/4708.jpegдо 20 Па*с) термочувствит. в-ва, напр. карбамид, желатину, капролактам, глицерин; в результате получают пасто- или порошкообразные продукты. Достоинства пленочных В.а.: отсутствие гидростатич. депрессии, малое гидравлич. сопротивление, высокий коэф. теплопередачи [до 2500 кВт/(м*К)], большая производительность при относительно небольших объемах аппаратов и занимаемых ими площадях, малая продолжительность контакта р-ра с пов-стью теплообмена. Недостатки: чувствительность к неравномерности подачи исходного р-ра, трудоемкость очистки пов-сти нагрева. Важное значение для эффективной работы В. а. имеет происходящее в его паровом пространстве, или сепараторе, отделение вторичного пара от капель концентрируемого р-ра. Последние загрязняют пар, затрудняя использование его конденсата для питания паровых котлов ТЭЦ, а также служат причиной инкрустации (иногда значительной) пов-сти нагрева и источником безвозвратных потерь концентрируемого р-ра. Степень сепарации вторичного пара зависит от св-в р-ра и интенсивности образования пены (обильное пенообразование повышает унос р-ра паром). Низкое поверхностное натяжение и высокая вязкость р-ра способствуют появлению пены. Присутствие в р-ре взвешенных частиц сообщает пене устойчивость. Для уменьшения пенообразования к р-ру иногда добавляют в-ва, к-рые повышают поверхностное натяжение (напр., растит. масла, высшие спирты, керосин) или удаляют взвешенные в-ва перед В. путем фильтрования р-ра.

Унос может происходить также в результате попадания капель выпариваемого р-ра в паровое пространство и их мех. захвата вторичным паром. Для предотвращения этого скорость пара в сепараторе должна быть сравнительно невелика (2-4 м/с), а высота парового пространства - достаточно большой (1,6-3,0 м), чтобы увлеченные паром капли жидкости успевали оседать под действием силы тяжести. Для улучшения сепарации пара применяют спец. ловушки, или брызгоуловители. Они действуют аналогично инерционным пылеуловителям или циклонам для очистки газов: брызги отделяются от пара вследствие резкого изменения скорости и направления его движения либо под действием центробежной силы.

Одно из условий нормальной работы В. а. - непрерывный отвод конденсата первичного пара. Накопление конденсата в греющей камере приводит к потере части активной повети нагрева и, следовательно, к снижению производительности аппарата. Для удаления конденсата без пропуска несконденсировавшегося (пролетного) пара применяют т. наз. конденсатоотводчики. наиб. распространены поплавковые устройства, действие к-рых основано на различии плотностей пара и конденсата. При поступлении пара конденсат вытесняется из поплавка, открытого сверху или снизу; последний всплывает и при помощи штока закрывает пропускное отверстие.

Интенсивность работы В.а., особенно при переработке р-ров в-в, к-рые образуют отложения на пов-сти нагрева, в значит. степени зависит от своевременного удаления накипи. Последняя сильно уменьшает коэф. теплопередачи и, следовательно, производительность аппаратов, нарушает циркуляцию р-ра, м. б. причиной коррозии в сварных швах. Снижение коэф. теплопередачи компенсируют увеличениемhttps://www.pora.ru/image/encyclopedia/7/0/9/4709.jpeg . Это достигается повышением давления греющего пара при постоянном давлении в аппарате или уменьшением, давления в аппарате при постоянных т-ре и давлении первичного пара. Для сохранения неизменной производительности В. а. (при условии постоянства состава выпариваемого р-ра и давления) т-ра греющего пара должна возрастать пропорционально продолжительности работы аппаратов. Последняя определяется кол-вом отложений на пов-сти нагрева. Накипь удаляют путем периодич. промывки или мех. очистки В. а.

Контактные выпарные аппараты. Для химически агрессивных р-ров, особенно при высоких т-рах, напр. H2SO4, СаС12, Na2SO4*10H2O (мирабилит), применяют аппараты с т. наз. погружным горением (рис. 2) - цилиндрич. емкости из углеродистой стали, футерованные кислотоупорной плиткой или гуммированные. В них топочные газы, используемые как теплоноситель, образуются в результате сжигания топлива (напр., прир. газа) в горелках, к-рые погружены в концентрируемый р-р. Эти газы барботируют через р-р и удаляются вместе с вторичным паром. Важное достоинство таких В. а. - отсутствие пов-сти теплообмена, что обеспечивает сравнительно простое решение вопросов коррозионной стойкости материалов, из к-рых изготовлены аппараты. Недостатки: большой расход топлива, невозможность использования вторичного пара в кач-ве теплоносителя (удаляется в смеси с газами), загрязнение атмосферы топочными газами и продуктами уноса р-ра паром.
https://www.pora.ru/image/encyclopedia/7/1/0/4710.jpeg

Рис. 2. Выпарной аппарат с погружным горением: 1 -горелка; 2-корпус.

Для получения небольших масс продукта (неск. г или кг) в лаб. условиях обычно применяют стеклянные колбы, снабженные внутр. или внеш. конденсаторами.

Выпарные установки. Одноступенчатые установки м. б. непрерывного и периодич. действия. Последние отличаются более высокими коэф. теплопередачи, но сложнее в обслуживании, поскольку их нельзя полностью автоматизировать. В одиночных аппаратах выпаривают сравнительно небольшие кол-ва р-ров, напр. в произ-вах особо чистой NaCl, а также Na2S, томатных паст, сгущенного молока. Образующийся вторичный пар для В. не используют. Упомянутый недостаток устранен в аппаратах с тепловым насосом. В них вторичный пар сжимают турбокомпрессором или паровым инжектором, повышая т. обр. его т-ру до т-ры греющего пара. В первом случае используется практически полностью вторичный пар, расходуется только электроэнергия, однако возрастают стоимость оборудования и затраты на его эксплуатацию. Во втором случае вследствие добавления в систему первичного пара часть вторичного пара удаляется из цикла. Аппараты с тепловым насосом целесообразно применять для р-ров, характеризующихся небольшими температурными депрессиями, при разрежениях в паровом пространстве 0,02-0,08 МПа и малых степенях сжатия вторичного пара (не более 2).

Расход греющего пара в одиночных В. а. весьма велик (1,20-1,25 кг на 1 кг выпариваемой воды). Для его уменьшения в пром-сти широко применяют многоступенчатые установки (преим. непрерывного действия), состоящие из ряда последовательно соединенных одиночных аппаратов. В этих установках, работающих при постепенно понижающемся давлении (в последней ступени 8-12 кПа), первичным паром обогревается только первая ступень, а каждая последующая - вторичным паром предыдущей. Число ступеней определяется полезной разностью т-р, физ.-хим. свойствами р-ров и типом В.а. В установках, включающих аппараты с естественной циркуляцией и восходящим движением пленки р-ра, к-рые эффективно работают только при значительной полезной разности т-р, число ступеней обычно не превышает 3-5. При использовании В.а. с принудительной циркуляцией и со стекающей пленкой р-ра, работа к-рых не зависит от температурного напора, число ступеней достигает 10 и более. Оптимальное число ступеней находится с учетом миним. стоимости единицы массы выпаренной воды.

В зависимости от направления относит. движения р-ра и пара многоступенчатые установки делятся на прямоточные, противоточные, смешанного типа и с параллельным питанием ступеней. В наиб. простой по аппаратурному оформлению прямоточной установке р-р подается в первый аппарат и, перемещаясь последовательно через остальные под действием перепада давлений между ступенями, удаляется из последней. Достоинства этих установок: возможность переработки термолабильных р-ров (напр., электролитич. щелоков, алюминатных и содово-поташных р-ров в произ-ве кальциниров. соды), пониженный износ аппаратуры, небольшие потери теплоты с выпаренным р-ром. Недостаток: переток р-ра по мере его концентрирования в аппарат, находящийся под меньшим давлением; при этом снижается т-ра кипения р-ра, но возрастает его вязкость, что приводит к уменьшению коэф. теплопередачи.

В противоточной установке выпариваемый р-р (напр., MgCl2 или т. наз. оборотный рассол в произ-ве калийных солей) подается в последнюю ступень и удаляется из первой. При этом увеличение концентрации р-ра сопровождается повышением т-ры, вследствие чего коэф. теплопередачи по ступеням выше, чем при прямотоке. Недостатки такой установки: применение насосов между ступенями для подачи р-ра из аппарата, работающего при меньшем давлении, в аппарат, находящийся под более высоким давлением; необходимость автоматич. регулирования уровня р-ра в каждом В. а.
https://www.pora.ru/image/encyclopedia/7/1/1/4711.jpeg

Рис. 3. Выпарная установка мгновенного вскипания: 1-подогреватель; 2 - испаритель; 3-конденсатор; 4-вакум-насос; 5, 6, 7-сборники соответственно конденсата, исходного и конечного р-ров.

В ряде случаев в последнем по ходу р-ра аппарате требуется поддерживать высокое давление вторичного пара, что ограничивает число ступеней В. и, следовательно, кратность использования пара. Для ее увеличения применяют установки со смешанным направлением движения пара и р-ра. Последний поступает в какой-либо из промежуточных В. а. и проходит через одну группу ступеней прямотоком, а через другую - противотоком, что дает возможность выделять одновременно неск. кристаллич. в-в [СаСО3, CaSO4, Mg(OH)2]. Эти установки сочетают достоинства и недостатки прямо- и противоточных установок.

В установке с параллельным питанием р-р подают одновременно в каждую ступень, а сконцентрированный р-р последовательно отбирают из всех ступеней. Эти установки служат гл. обр. для В. р-ров, состав к-рых мало изменяется в ходе процесса, а также для насыщ. кристаллизующихся р-ров (напр., рассолов в произ-ве пищевой NaCl). В каждой ступени р-р выпаривается при постоянной концентрации с выделением соли в результате испарения части р-рителя. Вторичный пар, получаемый в предыдущей ступени, обогревает последующую. Достоинство параллельного питания: наиб. простая система коммуникаций для подачи исходного и отбора конечного р-ров. Недостаток: сравнительно низкие коэф. теплопередачи по ступеням, поскольку в каждой из них находится р-р с макс. конечной концентрацией растворенного в-ва.

Спец. разновидность многоступенчатых выпарных установок - установки мгновенного вскипания, или с адиабатич. испарителями (рис. 3). Исходный р-р с помощью насоса последовательно движется через систему подогревателей, каждый из к-рых обогревается вторичным паром своего испарителя. Пройдя систему подогревателей, перегретый р-р вскипает в системе последовательно соединенных испарителей. Давление в них поддерживается таким, чтобы т-ра вторичного пара превышала т-ру нагреваемого р-ра в соответствующем подогревателе. Вторичный пар из последнего испарителя поступает на конденсацию, а сконцентрированный р-р - в сборники. Число ступеней испарения может достигать 30 и более, что обусловливает их работу при малых температурных напорах (2-3 °С). Конструкция и размеры испарителей полностью исключают перегрев р-ра. Установки мгновенного вскипания применяют для р-ров с малойhttps://www.pora.ru/image/encyclopedia/7/1/2/4712.jpegпри невысокой степени их концентрирования, напр. при опреснении морской воды. Достоинства: отсутствие контакта выпариваемого р-ра с пов-стью нагрева, что очень важно при В. кристаллизующихся р-ров; простота изготовления; миним. число насосов для циркуляции р-ра; компоновка из стандартных теплообменников и емкостей. Осн. недостаток: ограниченная степень концентрирования р-ра за один проход (0,15-0,20).

Расчет процесса. Для расчета должны быть известны рабочие параметры: контролируемые - расход и концентрация исходного р-ра, давления греющего и вторичного паров, т-ра кипения р-ра; регулируемые - давления паров, уровень р-ра в В. а., концентрация конечного р-ра. Эти данные определяют на спец. пилотных установках, оснащенных одиночными В. а. Неизвестные параметры далее вычисляют на основе ур-ний материального и теплового балансов, а также ур-ния теплопередачи. Применительно к типичному процессу концентрирования р-ра с выделением соли для одноступенчатой выпарной установки в общем виде имеем:
https://www.pora.ru/image/encyclopedia/7/1/3/4713.jpeg

где Сисх-кол-во (расход) исходного р-ра, Gк - кол-во сконцентрированного р-ра, Wв - кол-во выпаренной воды, Gc-кол-во выделенной соли, Wкр,-кол-во кристаллизац. воды.

Тепловая нагрузка на одиночный В. а. в общем виде составляет:
https://www.pora.ru/image/encyclopedia/7/1/4/4714.jpeg

где rвп и rкр-теплоты образования вторичного пара и кристаллизации соли, сисх и tисх-концентрация и т-ра исходного р-ра, tкип - т-ра кипения парожидкостной смеси,https://www.pora.ru/image/encyclopedia/7/1/5/4715.jpeg иhttps://www.pora.ru/image/encyclopedia/7/1/6/4716.jpeg -теплоты концентрирования в исходном и конечном р-рах.

Пов-сть нагрева аппарата и расход греющего пара соотв. составляют:
https://www.pora.ru/image/encyclopedia/7/1/7/4717.jpeg

где К-коэф. теплопередачи, tг.п и tв.п - т-ры греющего и вторичного паров, Ап = 1,02-1,05-коэф., учитывающий потери теплоты в окружающую среду, rг.п. - теплота образования греющего пара.

При расчете многоступенчатой установки кол-во воды, выпариваемой в любой i-той ступени, составляет:
https://www.pora.ru/image/encyclopedia/7/1/8/4718.jpeg

где D1 - расход греющего пара, подаваемого в 1-ю ступень, Xi и Yi - параметры, учитывающие физ.-хим. св-ва р-ра, а также направление относительного движения питания и пара.

Тепловая нагрузка на i-тую ступень и пов-сть нагрева этой ступени соотв. составляют:
https://www.pora.ru/image/encyclopedia/7/1/9/4719.jpeg

Общую и полезную разность температур определяют из уравнений:
https://www.pora.ru/image/encyclopedia/7/2/0/4720.jpeg

где nк-число ступеней,https://www.pora.ru/image/encyclopedia/7/2/1/4721.jpeg-потери температурного напора между ними.

Совершенствование техники выпаривания. Реализуются три осн. направления: 1) интенсификация теплообмена -применение развитых пов-стей нагрева, напр. в виде набора стальных пластин, тонкостенных (1,2-1,5 мм) и ребристых труб, а также труб со спец. турбулизаторами в форме внутр. кольцевых выступов или проволочных спиральных вставок; 2) снижение накипеобразования - использование, напр., затравочных кристаллов, способствующих массовой кристаллизации в объеме р-ра, или антиадгезионных полимерных покрытий; 3) экономия энергозатрат - применение, напр., экстра-пара и конденсата для нагревания исходного р-ра либо его предварительное концентрирование с помощью мембранного разделения.

Лит.: Таубман Е.И., Выпаривание, М., 1982; Перцев Л. П., Ковалев Е. М, Фокин В.С, Трубчатые выпарные аппараты для кристаллизирующихся растворов, М., 1982. Л.П. Перцев. Е.М. Ковалев, B.C. Фокин.